中国地质大学(武汉)2026年自学考试合作助学单位地址及联系方式

来源:天健专修学院发布时间:2026-03-10 点击量:1次

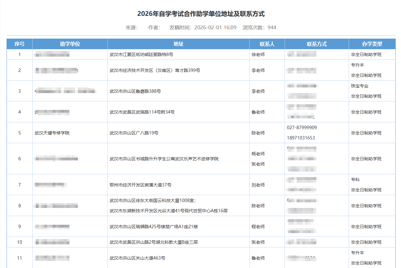
ac26d9e6a10febe1024cd9f3f7f96c81.png

免费成人高考指南课程/定制考试计划/成考教材/核心内部资料 一键领取

我要报名

  • 18910 人报名成功 报名即可获取最新免费“湖北成考”重要考试信息及考前辅导资料。
推荐阅读
天健微信公众号 天健官方微信群

扫一扫关注官方公众号

公众号分享湖北省自考政策、通知、公告以及各类学习资料、学习方法、课程

扫一扫加入微信交流群

本交流群可与考生自由互动、直接与老师进行交流、解答。随时获取湖北省自考政策、通知、公告以及各类学习资料、学习方法、课程

武汉天健专修学院地址